All Solutions
In the pharmaceutical industry, vial sealing integrity is the ultimate safeguard for drug safety—meeting global regulatory standards. Traditional capping solutions often lack consistency and traceability, which can lead to compliance risks.
According to GMP Annex 1, products are considered unsealed before capping (crimping) and must be handled in a Grade A environment with a Grade B background to prevent contamination. Upon completion of the crimping process, the packaging system should achieve a state of “sealing integrity compliance,” meaning it can pass microbial challenge tests and guarantee the absence of any leaks that could compromise drug quality.
Seal integrity does not imply an absolute zero-leak state but is based on a scientific assessment to define the Maximum Allowable Leakage Limit (MALL). Crimping locks the rubber stopper in place with an aluminum cap, maintaining its elasticity to ensure long-term product integrity and sterility. Uncapped vials carry the risk of stopper dislodgement or poor sealing, so after stoppering, strict storage conditions must be defined and crimping completed as soon as possible.
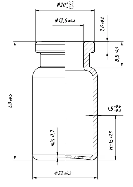
The primary packaging components of a vial sealing system are the aluminum cap (or aluminum-plastic flip-off cap), rubber stopper, and the vial. Depending on the formulation process and product characteristics, stoppers are divided into lyophilized (freeze-dried) stoppers and liquid-injection(water injection stoppers) stoppers. The structural differences are shown below:


The structure of liquid injection and lyophilization stoppers is fundamentally similar, except that the neck of the liquid injection stopper is shorter and lacks the ‘fork’ typically found in lyophilization stoppers.
Figure 3 shows a schematic of the vial structure, featuring a bevel (chamfer) at the bottle mouth. Vials for different products also vary slightly in design (Figure 4). For example, lyophilization vials typically include an anti-pop-up feature that further enhances container sealing after crimping.





According to analysis of Figures 5 and 6, the primary sealing areas between the stopper and vial are:
The inner side of the vial mouth and the upper side surface of the stopper opening (hard sealing: the stopper neck diameter is larger than the inner diameter of the vial mouth). The bevel area and the contact between the stopper flange and the vial rim serve as secondary sealing and require a certain external force to achieve effective sealing.
It must also be pointed out that the top surface of the vial mouth is not perfectly perpendicular to the neck; there is a slight angle. Therefore, even after stoppering and pressing, a small gap remains between the stopper flange and the vial rim. Without sufficient pressure on the stopper flange, this location is highly prone to leakage.
Due to the viscoelastic flow properties of rubber, when the crimping machine applies appropriate pressure during the crimping process, the stopper deforms, tightly conforming to the vial mouth. The viscoelastic flow of the rubber fills surface defects on the vial. Thus, the role of crimping is not merely to prevent the stopper from falling out; it also significantly enhances sealing performance.
In summary, the essential core of the crimping process is the appropriate compression of the rubber stopper. This compression should ideally be set and monitored directly through digital means.
Current crimping equipment on the market mainly includes clamp-type and roller-type crimpers. clamp-type crimpers confirm the capping effect by controlling the structural stroke. This structure inherently prevents the digital control of parameters such as the degree of stopper compression during crimping or the final tightness. To address these pain points and meet the demand for high-quality, small-batch crimping,Tailin has launched the DCSmart wireless capping, a desktop mini capping machine suitable for sealing aluminum caps and aluminum-plastic caps for pharmaceutical bottles.


The DCSmart features an innovative, independently developed torque-segmented crimping method.
The DCSmart complies with the requirements of 21 CFR Part 11 and the GAMP 5 guidelines.
The DCSmart delivers excellent and stable crimping performance, consistently producing vials that meet seal integrity requirements. During development, we conducted thousands of microbial ingress tests in accordance with USP <1207.2> Package Integrity Leak Test Technologies. All test results met acceptance criteria.

In the pharmaceutical and food packaging industries, every process step directly affects product safety and quality. Assisting enterprises in building a fully traceable system. Its extreme efficiency and systematic compliance provide a robust safeguard for aseptic drug production.